|
Segunda
Parte /
El proceso
industrial textil, de la materia prima a los acabados de las telas |
|
|
| |
|
Capítulo 12
La Maquinaria
de Tintura |
|
|
|
|
|
|
|
|
|
1. Procedimientos de tintura
|
|
En términos generales se dan dos formas de tintar una fibra:
De esta manera tenemos también dos tipos genéricos
de máquinas de tintura.
En el caso del procedimiento a, el
método de tintura es el llamado por agotamiento. En este
proceso son las fuerzas de afinidad entre colorante y fibra lo que hace
que el colorante pase del baño a la fibra hasta saturarla y quedar
fijada en él. La relación de peso entre peso de fibra y peso
de solución de colorante es bastante elevada, de 1/5 a 1/60.
En el caso del procedimiento b, el
método de tintura es el llamado por impregnación de
la fibra en colorante. Pero el material textil que se impregna de la solución
donde está el colorante, lo hace sin que en ese momento quede todavía
fijado en él; es después, en el proceso de fijado, cuando
la tintura es definitiva. Utilizando el procedimiento de impregnación
la relación de baño es mucho más baja, entre 1,2 y
0,6 litros de solución por Kg. de fibra. |
|
|
|
2. Maquinaria de tintura por agotamiento
|
Para el sistema por agotamiento, las máquinas se diferencian
por su acción mecánica que actúa sobre la materia
textil a tintar, sobre el baño tintóreo o sobre ambas cosas
a la vez.
|
|
|
|
|
|
Máquinas del TIPO
I
|
|
de solución en movimiento
y textil estático
AUTOCLAVES
Los autoclaves tienen la ventaja de poder tintar el género una
vez que éste haya sido empaquetado; pero por el hecho de tintar
en paquete, la cuestión más importante a tener en cuenta
es la igualación de color en toda la masa, que será más
problemática cuanto mayor sea la velocidad de fijación del
colorante; velocidad controlada mediante la temperatura y electrolitos.
|
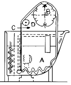
ESQUEMA DEL AUTOCLAVE
A es el recipiente hermético que contiene la solución
tintórea. B es la jaula portamateria, en la que se aloja el textil
a teñir, convenientemente holgado para que el baño pueda
circular entre ello.
Los portamateriales serán diferentes, según sea el tipo
de textil y su empaquetado:
a) de corona circular; empleado para floca, dentro circula el
baño nada más en sentido I-E.
b) En forma de espada; empleado para mechas de peinado, que
se enrollan sobre varias bobinas de un tubo perforado.
c) De bobina perforada; sobre ella se enrollan directamente
los hilos. C es la bomba impulsora del baño tintóreo, capaz
de mantenerlo continuamente en movimiento y capaz de invertir, a intervalos,
el sentido de circulación del baño a través de la
materia a tintar. |
|
 |
|
Autoclave y proceso de tintura en él |
|
|
|
El empaquetado debe ofrecer siempre suficiente
permeabilidad para una circulación constante y regular de la corriente
del baño. El problema más importante que se puede plantear
en la tintura en autoclave es el de la cavitación de la bomba, es
decir la formación de burbujas entre la materia textil, hecho que
es considerado como una avería. Los torbellinos de líquido,
igualmente, pueden darse al invertir el sentido de la corriente.
Otros elementos importantes en el autoclave son:
1) Calentador y refrigerador del baño, para poder
modificar con cierta rapidez la temperatura, según convenga.
2) Bomba de presión, para hacerla intervenir cuando la
presión en el baño sea inferior a la de vapor de agua que
exista o se genere en el sistema. Si esta presión es inferior en
el baño, se formarán las burbujas,
fenómeno que se conoce como "cavitación" de la bomba.
3) Dispositivo para una rápida toma de muestras, en cualquier
momento de la tintada.
|
|
|
|
|
|
Máquinas del TIPO
II
|
|
de textil en movimiento y solución
estática
TINTURA EN TORNIQUETE
En la tintura con torniquete, el movimiento del textil a través
del baño es el que crea la circulación del mismo, a base
de removerlo suave pero constantemente. Si el colorante no posee buena
migración, este sistema no será apropiado; y si el colorante
es fácilmente oxidable, tampoco, porque el material tintado sale
periódicamente al aire ambiente, arrastrado por el grueso hilo,
fuera del baño. Ni esta máquina ni este sistema sirven para
colorantes a la tina.
|
|
El esquema mecánico
en el TORNIQUETE es el siguiente:
A: una cuba trapezoidal o artesa, para el baño
tintóreo. B: Un rodillo motriz del textil, situado sobre
la cuba y fuera de ella, que arrastra el textil a través del baño.
Para la lana, el rodillo devanador del torniquete es de forma circular,
produciendo un movimiento suave, sin tirones, que evita el enfieltrado
y estirado del hilo. Para el algodón suele ser elíptico,
acentuando la formación de pliegues en la cuba; menos elíptico
cuanto más ligero de peso es el textil.
|

|
|
|
|
|
TINTURA EN JIGGER
|
|
El sistema de funcionamiento del Jigger es el siguiente:
dos cilindros donde se recoge, enrollado y sin arrugas, el
tejido, de orillo a orillo. Un grupo motriz que hace girar los cilindros
para enrollar y desenrollar en ellos el tejido durante la tintura. Un recipiente,
en forma de artesa, para la solución tintórea. Dentro del
baño el tejido pasa por otros rodillos donde se mantiene estirado;
otro curvado evita cualquier arruga en el tejido. Al entrar el tejido en la
solución tintórea, absorbe de éste una parte que será retenida por sus fibras,
llegando así al rodillo donde se recoge; volverá, desenrollándose, con una
cierta cantidad de colorante fijado y se pondrá de nuevo en contacto con la
solución tintórea. |
|
Así se irá intercambiando colorante entre
tejido y la solución, hasta llegar al equilibrio entre solución
y tejido tintado y conseguir, por tanto, completar la tintura. Cada vez
que el tejido llega al baño no se da en éste la misma concentración
de colorante, lo que hace difícil que las franjas de tejido que
no han conseguido igualación la consigan ahora. Las diferencias
suelen darse entre el centro y los extremo del tejido. Otra dificultad
puede darse en la igualación de tintura a lo ancho, diferencia entre
los orillos y el centro, producida sobre todo porque haya diferencias de
tensión en el enrollamiento del tejido, presionando en los orillos
más o menos que en el centro.
La propia humectación del
tejido en la solución puede modificar su estructura y alterar esta
tensión longitudinal, apareciendo el típico moaré
o aguas en su aspecto.
|
 |
|
|
|
|
|
|
|
|
Máquinas del TIPO
III
|
|
materia textil y baño
tintóreo en movimiento
|
TINTURA EN JET
En esta máquina el textil se mueve dentro de una
corriente de baño tintóreo. Fue éste el método
para solventar los problemas de la tintura de poliéster a alta temperatura.
La tracción del textil se efectúa por una devanadora que
lo conduce a través de un tubo por el que circula el baño
en el mismo sentido. |
| |
| |
|
|
|
 |
|
LA TINTURA
DE MADEJAS Las máquinas empleadas para la tintura de madejas
pueden ser tanto del TIPO I como del
TIPO III. En el primero
de los casos se obtiene tintado un hilo con mayor grosor, regular y voluminoso,
ya que nunca ha sido prensado durante el proceso, ni siquiera por su propio
peso. Suelen tintarse así los géneros de punto. En estas
máquinas las madejas se cuelgan de un soporte horizontal y debe
proporcionarse entre las madejas una circulación uniforme de solución
de colorante, para obtener una buena igualación.
TINTURA EN MÁQUINA MEZZERA
La máquina Mezzera consiste esquemáticamente
en un armario con dispositivo del que se cuelgan las madejas. En ella el
movimiento de la solución de colorante se consigue con bombas de
mediano caudal, que proporcionan más o menos presión,
dependiendo de tener un compartimento grande o más
de uno más pequeño. |
 |
|
|
|