TECNOLOGÍA DE LA CONFECCIÓN EN PIEL 

PRIMERA PARTE: De la materia prima a la piel transformada

©  EDYM, España 2009

     ISBN 978-84-88615-14-0  DL V-4810-2009

CAPITULO 4
El curtido 

 
 
Los trabajos de ribera

PRIMERA PARTE. Introducción: esquema de la transformación de una piel en bruto en piel acabada o cuero. 1. Trabajos de ribera. 1.1. Remojo. Equipamientos y máquinas para los trabajos de ribera. Procedimientos de remojo. Métodos de aceleración del remojo. 1.2. Deslanado, rasurado, depilado. 1.3 Calero y rendido. Métodos principales de encalado y depilación. Sistemas orgánicos de encalado. Productos químicos para el encalado y depilación. Hidróxido de calcio. Sulfuro de sodio. Hidrosulfuro de sodio. Otros productos auxiliares de encalado y depilado. 1.3.1 Rendido. 1.3.2 Desencalado. Otros agentes de desencalado. 1.4 Descarnado y desengrasado. 1.4.1 Descarnado. 1.4.2 Desengrasado. Métodos de desengrasado de la piel. 1.5. Piquelado. Métodos de piquelado.

 

 
1. Trabajos de ribera
1.2 Deslanado, rasurado, depilado
 

 

Depilación y apertura de la piel

Propósito: La eliminación del pelo o la lana y la epidermis.

 

Otros efectos obtenidos: aflojamiento por la textura de las fibras de colágeno y la saponificación parcial de la natural grasa; es decir apertura de la piel y la liberación de curtientes activos.

 

Continuamos estudiando la depilación dentro del proceso de encalado, pues son dos operaciones complementarias.

 

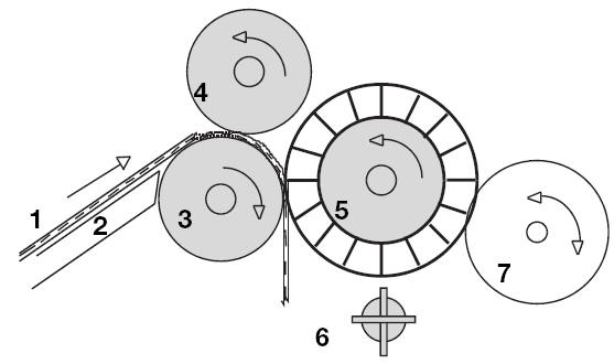
Esquema del proceso mecánico de rasurar la piel

 

1. entrada de cuero para ser rasurado. 2. tablero para extender la piel. 3. rodillo de presión. 4. rodillo de transporte. 5. rodillo de rasurado. 6. cuchillas repelentes. 7. esmeril para afilar las cuchillas.

 
1.3 Calero y rendido

Index de la obra

Index de esta parte

Capítulo 5

TECNOLOGÍA DE LA CONFECCIÓN EN PIEL

©  María de Perinat  2000