TECNOLOGÍA DE LA CONFECCIÓN EN PIEL 

PRIMERA PARTE: De la materia prima a la piel transformada

©  EDYM, España 2009

     ISBN 978-84-88615-14-0  DL V-4810-2009

CAPITULO 4
El curtido 

 
 
Los trabajos de ribera

PRIMERA PARTE. Introducción: esquema de la transformación de una piel en bruto en piel acabada o cuero. 1. Trabajos de ribera. 1.1. Remojo. Equipamientos y máquinas para los trabajos de ribera. Procedimientos de remojo. Métodos de aceleración del remojo. 1.2. Deslanado, rasurado, depilado. 1.3 Calero y rendido. Métodos principales de encalado y depilación. Sistemas orgánicos de encalado. Productos químicos para el encalado y depilación. Hidróxido de calcio. Sulfuro de sodio. Hidrosulfuro de sodio. Otros productos auxiliares de encalado y depilado. 1.3.1 Rendido. 1.3.2 Desencalado. Otros agentes de desencalado. 1.4 Descarnado y desengrasado. 1.4.1 Descarnado. 1.4.2 Desengrasado. Métodos de desengrasado de la piel. 1.5. Piquelado. Métodos de piquelado.

 

 
1. Trabajos de ribera

1.4 Descarnado y desengrasado

1.4.1 Descarnado

Propósito: eliminar la capa subcutánea que cubre el corium por el lado carne.

La zona más proclive a una corrupción de la piel por invasión bacteriológica es el lado carne, que llega del lugar de sacrificio con materia a eliminar. El inicio de los trabajos en ribera requiere a veces la eliminación de estos residuos, llamada operación de pre-descarnar la piel.

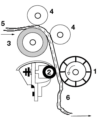
La capa subcutánea, que vimos en el Capítulo Primero, no forma parte de la piel a curtir. En la tenería tradicional, esta capa se eliminaba de forma manual, a base de ralladuras del material con herramientas de hierro y, las más antiguas, de piedra, como puede verse en los museos históricos. En la actualidad, este proceso se realiza de forma mecánica con máquinas herramientas de gran precisión, cuyo principio de funcionamiento puede verse en la figura de abajo.

 

Esquema de la operación mecánica de descarnar la piel

1. cilindro de cuchillas. 2. rodillo de presión neumática. 3. rodillo de respaldo. 4. rodillos de tensión de la piel. 5. entrada de la piel a descarnar. 6. salida de la piel descarnada

 
 
1.4.2 Desengrasado
 

 

Index de la obra

Index de esta parte

Capítulo 5

TECNOLOGÍA DE LA CONFECCIÓN EN PIEL

©  María de Perinat  2000